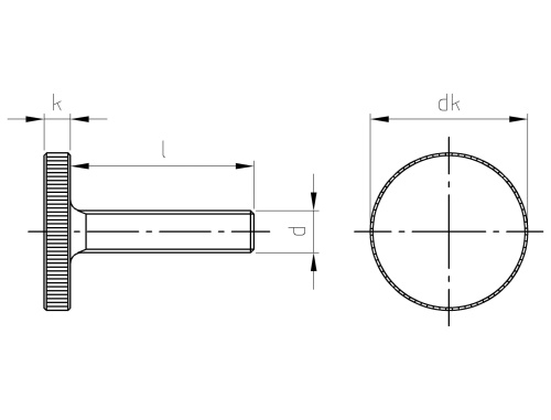
DIN 653 AISI 303 M 10X20
Knurled thumb screws, thin type
Jakost A1
Mechanika Rýhování
Druh závitu Metrický
Tvar hlavy S půlkulatou hlavou
Výška hlavy (k) 8,00 mm
Pevnost v tahu 500,00 N/mm2
Průměr (d) 10,00 mm
Průměr hlavy (dk) 36,00 mm
Délka (l) 20,00 mm
Máme největší výběr nerezového materiálu skladem.
Plechy řežeme do konkrétních tvarů.
Tyčový materiál dělíme dle potřeby.
Rádi Vám poradíme s výběrem.