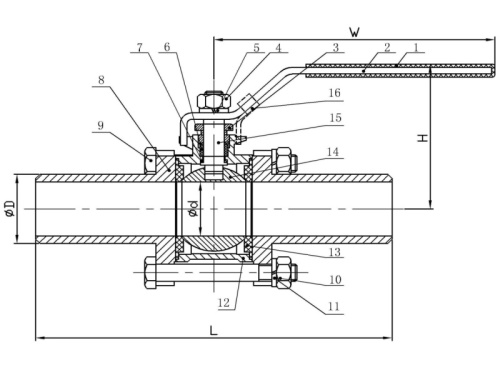
Kohout kulový 3-dílný, přivařovací, dlouhý, PN 63, 1.4408: 1"-34,5
Dimenze 1"
Průměr (d) 34,50 mm
L 243,00 mm
H 64,00 mm
W 112,00 mm
Máme největší výběr nerezového materiálu skladem.
Plechy řežeme do konkrétních tvarů.
Tyčový materiál dělíme dle potřeby.
Rádi Vám poradíme s výběrem.