Kohout kulový 3-dílný, přivařovací, dlouhý, PN 63, 1.4408: 2"-61,5
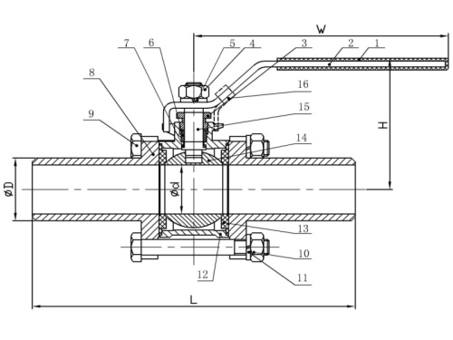
Dimenze 2"
Průměr (d) 61,50 mm
L 275,00 mm
H 97,00 mm
W 165,00 mm
Máme největší výběr nerezového materiálu skladem.
Plechy řežeme do konkrétních tvarů.
Tyčový materiál dělíme dle potřeby.
Rádi Vám poradíme s výběrem.