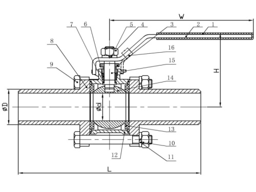
Kohout kulový 3-dílný, přivařovací, dlouhý, PN 63, 1.4408: 3/4"-26,9
Dimenze 3/4"
Průměr (d) 26,90 mm
L 225,00 mm
H 60,00 mm
W 112,00 mm
Máme největší výběr nerezového materiálu skladem.
Plechy řežeme do konkrétních tvarů.
Tyčový materiál dělíme dle potřeby.
Rádi Vám poradíme s výběrem.