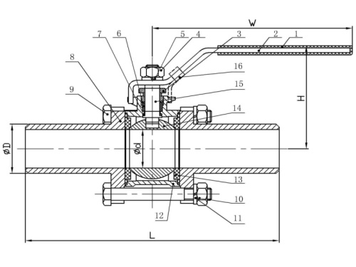
Kohout kulový 3-dílný, přivařovací, dlouhý, PN 63, 1.4408: 5/4"-43,5
Dimenze 1 1/4"
Průměr (d) 43,50 mm
L 256,00 mm
H 80,00 mm
W 145,00 mm
Máme největší výběr nerezového materiálu skladem.
Plechy řežeme do konkrétních tvarů.
Tyčový materiál dělíme dle potřeby.
Rádi Vám poradíme s výběrem.