MALE UNION CONNECTOR GAS D-18-3/4" A316
MALE UNION CONNECTOR GAS
Jakost 1.4404
Materiál těsnění EPDM
Závit 3/4"
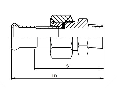
Profil M
Rozměr (s) 56,50 mm
Potrubí 18,00 mm
Rozměr (m) 76,50 mm
Máme největší výběr nerezového materiálu skladem.
Plechy řežeme do konkrétních tvarů.
Tyčový materiál dělíme dle potřeby.
Rádi Vám poradíme s výběrem.